「VR元年」と呼ばれる今年も残すところわずかとなりましたが、ついに週刊VRウォッチも第20回を迎えました。今週はデバイスや出資に関する情報が相次ぐ中、任天堂も新ゲーム機のSwitch用のVRデバイスを出すかもしれないという情報が入ってきました! 今週も盛り沢山の内容ですので、ぜひ見てください!
Oculus共同創業者CEOのブレンダン・アイリブ氏が退任しPC VR部門のリーダーへ
Oculus社のCEOであるブレンダン・アイリブ氏は、12月13日同社の公式ブログにて、CEOの職を辞し、新たに設立されるPC VR部門のリーダーを務めることを明らかにしました。
Oculus社は、開発力を強化しロードマップに向けた取り組みを加速させることを目的として、新たにPC VR部門とモバイルVR部門を設立。アイリブ氏はPC VR部門を率いることになります。今後は、リサーチとコンピュータービジョンに関する取り組みを進めていきたいとのこと。
アイリブ氏は37歳。「Civilization Ⅳ」などに携わったゲームプログラマーでもあり、パルマー・ラッキー氏とともにOculus社を設立した共同創設者です(設立時は「Oculus VR」という会社名でした)。2014年3月にFacebook社に買収された後も、CEOを続けてきました。Oculus Rift向けのハンドコントローラーOculus Touchが発売された段階でのアイリブ氏の退任ですが、誰が次のCEOを誰が務めるのか、公式な発表は行われていません。
本ニュースの詳細はこちら:
Oculus 共同創業者、CEO ブレンダン・アイリブ氏退任、PC VR部門のリーダーに
http://www.moguravr.com/brendan/
4Kライブストリーミングも可能な360度カメラ「Orah 4i」米国で予約開始! 価格は約3,600ドル
360度ポストプロダクションソフトウェアを開発するVideoStitch社は、同社初となる360度カメラ「Orah 4i」の予約を米国向けに開始しました。Orah 4iは、自動的にスティッチングされる4K解像度の映像をVRヘッドマウントディスプレイで見ることのできるストリーミング配信プラットフォームに提供します。価格は3,595ドルです。
Orah 4iはすでに先行予約をしていたユーザーに向けての発送が開始されており、今回の予約開始以降の注文に関しても「速やかに」発送を行うとのことです。また米国以外への発送は、法的な問題により遅れが生じているとしており、各国の規制などの通過に時間を要していると思われます。
本ニュースの詳細はこちら:
4Kライブストリーミングも可能な360度カメラ「Orah 4i」米国で予約開始 価格は約3,600ドル
http://www.moguravr.com/orah-4i/
VRシューティングRaw Dataを開発したSurviosがVRゲーム最高額の約59億円を資金調達!
Survios社によるVRシューティングゲーム「Raw Data」は、2016年夏に発売されて以来、ゲーム配信プラットフォーム「Steam」におけるHTC Vive用VRコンテンツのヒット作品の一つとなっています。同社は今年2回の資金調達を発表し、エンターテイメント会社のメトロ・ゴールドウィン・メイヤー(MGM)などを通じ5000万ドル(約59億円)を調達しました。
今回の投資ではDanhua Capital、Shanda Holdings、Felicis Ventures、Dentsu Ventures、Lux Capitalとともに、Shasta Venturesが再び投資に参加しました。 またMGMによる投資ラウンドによって、MGMの会長兼CEOのGary BarberがSurviosの経営に参画することになります。
これまでVRゲームスタジオによる巨額の資金調達の例は、Oculus Rift向けゲーム「Lucky’s Tale」の開発を行っているPlayfulが2,500万ドル(約29億円)、「Eve:Valkyrie」を開発するCCP Gamesが3,000万ドル(約35億円)などがありました。今回のSurviosの調達額は、VRゲームスタジオとして最大規模となります。
本ニュースの詳細はこちら:
『Raw Data』開発元のSurvios、電通ベンチャーズ等からVRゲームでは最高額の約59億円を資金調達
http://www.moguravr.com/survios-dentsu-ventures/
WordPressがVR対応へ! まずは360度静止画と動画から
Webサイト制作に広く使われているWebパブリッシングプラットフォームのWordPressにて、VRコンテンツを公開可能となることが明らかになりました。360度動画・静止画などを公開するために、ユーザーにさらに多くのオプションを提供するとのことです。
これまで、WordPressを使ったWebサイトでユーザーが記事内で360度動画を公開する場合は、YouTubeやFacebookの動画プレイヤーを埋め込むことで実現していました。しかしThe Vergeによれば、今後はWordPress自体にVRコンテンツを埋め込む機能が追加され、360度静止画・動画をデスクトップ、モバイル、さらにはVRヘッドセットで見ることができるような機能を実装するとのこと。
この対応により、サイト訪問時に使用しているデバイスによって、視聴方法が異なるものとなります。例えばデスクトップ上では、360度ビデオプレーヤーを埋め込み、クリックしてドラッグすると、360度のYouTubeやFacebookプレーヤーと同様の視点変更方法ができます。またモバイルでは、360度ビデオプレーヤーを使用して、モバイルデバイス自体を動かして視点を変更できます。 さらに、VRヘッドセットやGoogle Cardboardも使用できるようになるとのことです。Webブラウザー上でVRコンテンツを体験するWebVRの取り組みが「ブラウザー」を中心に進みつつあります。今後、Webサイト上でVRコンテンツを目にする機会が増えることに期待です。
本ニュースの詳細はこちら:
WordPressがVR対応へ まずは360度静止画と動画から
http://www.moguravr.com/word-press-vr/
ついに完成!「VR戦艦大和」がOculus Storeにて配信開始
株式会社神田技研は同社が開発したVRアプリ「VR戦艦大和」を、2016年12月16日にOculus Storeにアップしました。2014年12月にクラウドファンディングで資金募集および制作を開始し、2年の開発期間を経ての完成となります。VR戦艦大和では、研究資料や元乗組員の証言を元に可能な限り細部まで復元したとのこと。VRヘッドマウントディスプレイであるOculus Riftに対応しており、75年前に竣工した大和の姿を、当時の乗組員と同じ視点で体感することができます。
外観のみならず、第一艦橋や操舵室、主砲内部などの重要施設も見学可能。また、乗組員の居住施設や烹炊所(ほうすいじょ)も再現し、乗組員がどのような生活を送っていたのかも知ることができます。本作はOculus Storeの製品ページにて配信中で、価格は3,990円となります。なお2016年8月には、元戦艦大和の乗組員である都竹卓郎大尉がVRデモを体験し、当時の様子を語る動画も公開されています。
本ニュースの詳細はこちら:
ついに完成!「VR戦艦大和」がOculus Storeにて配信開始
http://www.moguravr.com/vr-yamato-oculus-store-release/
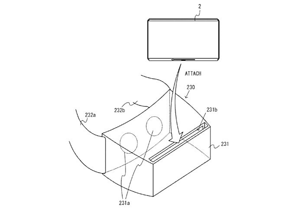
Nintendo Switchの特許に2眼のVRゴーグルのような周辺機器を描いた図面が掲載!
アメリカの掲示板NeoGAFのユーザーRosti氏が、2017年発売予定であるNintendo Switchの特許の中に、VRゴーグルのようなデバイスを描いた図面が含まれていることを発見しました。Switchの特許には詳細な言及があり、この周辺機器が「HMD(ヘッドマウントディスプレイ)」であることが分かります。
- この周辺機器はベルトを使って頭に装着する
- 目が接する2つの穴にはレンズがはめこまれる
- Switch本体を挿入し、レンズから覗いてディプレイを見る
- 両目で覗き込んで、広い視野で映像を見ることができ、ディスプレイ上にはそのように見ることに最適化された映像が描画される
- 本体には加速度センサーや角速度センサーが搭載されており、動きに合わせてディスプレイの描画を変化させる、視線の方向に(ゲームの中のバーチャルな)カメラを向けることができる
- 実装方法として、本体にセンサー類が搭載されなかった場合、HMD側にセンサーを搭載し、本体に情報を転送する
- Switchの2個のコントローラーを使ってHMD装着中も操作可能
特許の記述から、このデバイスは両眼で見ること、そしてヘッドトラッキングの機能を備えていることから、VRHMDであることはほぼ間違いないのではないかと推測されます。同特許では、この周辺機器は「例」とされています。もし、この周辺機器が実装された場合、任天堂からもVRデバイスが登場することになります。Nintendo Switchの詳細に関する続報は2017年1月13日に発表されます。今回の特許に含まれる周辺機器に関する続報があるのか期待したいところです。
本ニュースの詳細はこちら:
Nintendo Switchの特許にVRゴーグルのような周辺機器を描いた図面が掲載
http://www.moguravr.com/nintendo-switch-vr/
※本ニュース記事は「Mogura VR」から提供を受けて配信しています。
転載元はこちらをご覧ください。
- この記事のキーワード
