先週もVR/ARに関する多くのニュースが報じられました。VR関連ではHTCの新たな一体型VRヘッドセットの噂が報じられ、注目を集めました。この報道は海外メディアとのインタビューで判明し、2021年内に発売される見通しです。
一方、AR関連ではUnity TechnologiesによるARアプリ企業VisualLive社の買収が報じられました。Unityは今回の買収により、自社の建設業界などに向けたコラボレーションツールの効率化とコスト削減など、ツールの強化を行います。
HTC、新たな一体型VRヘッドセットを2021年に発売か
HTC中国の社長であるAlvin Wang Graylin氏は、HTCが新たな一体型VRヘッドセットを2021年に発売すると発言しました。同氏は「Oculus Questと競い合うデバイスではない。また現行品よりあらゆる面で優れ、現在のどのメーカーの製品よりも良い」とコメントしています。HTCはこれまで一体型のVRヘッドセットとしてVIVE Focusシリーズを展開しており、新製品は同シリーズのデバイスになる可能性があります。
本ニュースの詳細はこちら:
HTC、新たな一体型VRヘッドセットを2021年に発売か
https://www.moguravr.com/htc-new-vr-headset/
HTC、小型軽量になった新型VIVEトラッカーと表情トラッキングデバイスを発表
HTCは身体や物に取り付けて動きをトラッキングする「VIVE Tracker」の新モデルと表情トラッキングデバイス「VIVE Facial Tracker」を発表しました。両製品はヨーロッパで先行発売され、価格は139ユーロ(約18,000円)。日本での発売時期・価格は未定です。
新VIVE Trackerは前モデルよりもバッテリーの持ちが75%改善され、33%の小型化、15%の軽量化を実現しています。「VIVE Facial Tracker」は唇や舌、顎の動きなどを読み取り、38種類の顔の動きを再現するとのことです。
本ニュースの詳細はこちら:
HTC、小型軽量になった新型VIVEトラッカーと表情トラッキングデバイスを発表
https://www.moguravr.com/new-vive-tracker/
Unityが建築向けARアプリ企業を買収 自社ツールの強化へ
ゲームエンジン「Unity」を提供するUnity Technologiesは、建築向けARソフトウェア開発会社の米VisualLive社を買収しました。
Unityは3D技術関連の企業買収を進めており、今回の買収で得たVisualLiveの技術を活用して、BIMデータをリアルタイムにレンダリングする建築向けVR/ARツール「Unity Reflect」の強化を目指します。
本ニュースの詳細はこちら:
Unityが建築向けARアプリ企業を買収 自社ツールの強化へ
https://www.moguravr.com/unity-visuallive-acquisition/
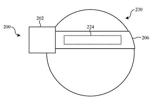
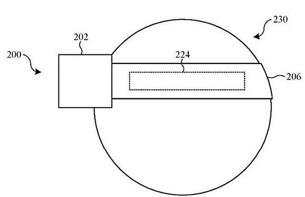
アップルが新たなVR/AR関連特許出願、ヘッドバンドの自動調整か
アップルが米国特許商標庁(USPTO)に出願していた、VR/ARヘッドセット関連と思われる特許が新たに公開されました。
海外メディアiMoreによれば、センサーからの情報に反応して、アジャストシステムが、ヘッドバンドの締まりを自動的に調整する仕組みと推測されます。これまでにも、アップルがVRヘッドセットの開発を進めていることが報じられています。この特許ではARアプリ体験を向上させる旨が説明されていますが、VR側にもこの特許に関連した技術が実装されるかもしれません。
本ニュースの詳細はこちら:
アップルが新たなVR/AR関連特許出願、ヘッドバンドの自動調整か
https://www.moguravr.com/apple-vr-ar-patent-application/
※本ニュース記事は「Mogura VR」から提供を受けて配信しています。
転載元はこちらをご覧ください。
