今週は、サムスンが一体型VRデバイスを開発していることが分かるなど、一体型VRデバイスに関してのニュースがありました。一体型VRデバイスに関しては、今のVRブームの火付け役であるOculusも開発中と言われています。他にもIntel、Qualcomm、HTC、Lenovoや中国のピコインタラクティブなどが発表しており、中国のIdealens Technology Co., Ltd.の「IDEALENS K2+」にいたっては、実際に日本国内で販売されています。
PCもスマートフォンも必要としない一体型VRヘッドセット、今後どのようになるのかが楽しみですね。
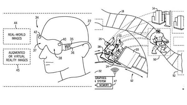
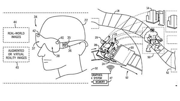
米・ユニバーサル、VR/ARを活用する特許取得 現実とバーチャルが混ざるテーマパーク
VRを取り入れたアトラクションは、日本を含め世界の各地で運用されています。今回、米・ユニバーサルがVR/ARをアトラクションに取り入れるための特許を取得したことが明らかになりました。
THE BUISNESS JOURNALSによると、同社が取得した特許の内容はVR/ARをテーマパークで使用することに関するもので、添付された図には同社が計画中のVR/ARゴーグルと、それを使用したテーマパークのコンセプトが描かれています。
本ニュースの詳細はこちら:
現実とバーチャルが混ざるテーマパーク 米ユニバーサルがVR/ARを活用する特許取得
http://www.moguravr.com/universal-parks-resorts-ar-vr/
サムスンも一体型VRデバイスを開発 4Kでアイトラッキング搭載
サムスンは、2017年6月28日から7月1日まで上海にて開催されたMobile World Congress Shanghai 2017において、同社が開発中の一体型HMD「ExynosVR III」のリファレンスデザインを公開しました。リファレンスデザインとは、製品ではなく、特徴的な機能を紹介するための、「参考モデル」となります。
同機はGPUにARM Mali G71 MP20、CPUにM2 Dual 2.5GHzを内蔵し、4K画質にも対応しています。描画頻度を表すフレームレートは画質によって可変となっており、4K画質の場合75FPS、WQHDの場合は90FPSです。現行のVRヘッドセットでPCに接続するOculus RiftやHTC Viveが90FPS、スマホで起動するGear VRは60FPSとなっており、これらと同水準かそれ以上の性能を実現しています。前面にはカメラを内蔵しており、外部センサーを使わないインサイド・アウト方式の位置トラッキングが可能です
また、アイトラッキング技術を開発する韓国企業であるVisual Camp社によると、ExynosVR IIIのリファレンスデザインでは、アイトラッキングが可能であるほか、その他、ハンドトラッキング、顔表情認識機能も実装しているとのことです。
本ニュースの詳細はこちら:
サムスンも一体型VRデバイス開発 4Kで視線追跡搭載
http://www.moguravr.com/samsung-vr-4k/
アップル、深度センサーを使用したジェスチャー認識の特許取得 AR機能へ応用か
アップルが、新たに深度センサーを用いたジェスチャー認識システムの特許を取得したことが分かりました、本特許では、この深度マッピングがゲームに適用される可能性があるとしています。
2017年秋からアップルは、アップデートを通じてiOSデバイスにAR機能を搭載するとしており、AR機能への応用が期待されます。
本ニュースの詳細はこちら:
AR機能への応用か アップル、深度センサーを使用したジェスチャー認識の特許取得
http://www.moguravr.com/apple-ar-depth-sensing/
macOSがVR対応へ レンダリング性能も最適化
アップルは、MacによるVRヘッドマウントディスプレイへのレンダリングをより最適化する機能を、次世代グラフィックAPIである、Metal2に追加しました。
VRには通常の平面モニターでも描画以上に、高品質なグラフィックと非常に短い遅延時間が要求されます。そのため、GPUとヘッドセットをつなぐレンダリングパイプラインを特別にチューニングすることは、快適なVR体験を提供する上でとても重要です。
他のVRプラットフォームでも入念な調整が施されているように、アップルもまた「VRレンダリングを強力かつ専用にサポートする」機能を新型Macの新しいグラフィックAPIとなるMetal2に加えています。
本ニュースの詳細はこちら:
VR対応となるmacOS レンダリング性能も最適化
http://www.moguravr.com/vr-macos-rendering/
ノキアとXiaomi、VRとARを含む複数分野で提携
通信インフラ施設・無線技術を中心に開発しているノキアが、スマートフォンメーカーから総合家電メーカーとなった小米科技(シャオミ)と提携して、携帯電話に関する特許の相互利用契約を締結しました。ノキアとシャオミはさらに、IoT、VR(仮想現実)、AR(拡張現実)、人工知能などの分野でも協業していくことで合意したと発表しています。
シャオミはこの7年間で16,000件以上の特許を申請し、そのうち約4,000件が認められました。ノキアは多くのモバイルネットワークの基準を確立させており、通信業界での彼らの地位はシャオミの事業拡大に役立つと考えられています。
本ニュースの詳細はこちら:
ノキアとXiaomi、VRとARを含む複数分野で提携
http://www.moguravr.com/xiaomi-nokia-vr-ar/
※本ニュース記事は「Mogura VR」から提供を受けて配信しています。
転載元はこちらをご覧ください。
- この記事のキーワード
