VRデバイス「VIVE Pro Eye」、約23,000円の値下げへ

先週もVR/ARに関するニュースが多数報じられました。VR関連では、PC向けVRヘッドセット「VIVE Pro Eye」のフルキット版が価格改定したニュースが注目を集めました。HTCはすでに日本国外で200ドル(約20,000円)の値下げを行っており、国内価格もこれに追随する形となりました。
AR関連では、アップルの自動的にレンズ位置を調整するシステムに関する特許が報じられました。ヘッドセットを装着するだけで利用でき、同社が開発中と噂されるARグラスの利便性を向上させるための技術と考えられています。
「VIVE Pro Eye」が約23,000円値下げで国内価格は162,880円に
HTC NIPPON株式会社は、ハイエンド向けPC接続型VRヘッドセット「VIVE Pro Eye」フルキット版の価格改定を発表しました。改定後の価格は162,880円(税抜)。改定前の186,120円から約23,000円の値下げとなっています。
VIVE Pro Eyeは「VIVE Pro」にアイトラッキング機能を実装したデバイス。ヘッドセット内部のレンズ周囲に配置されたセンサーにより、ユーザーの眼の動きや瞬きを認識し、視線での操作やユーザーの視線データの取得・分析が可能です。
本ニュースの詳細はこちら:
「VIVE Pro Eye」が約23,000円値下げ 国内価格はおよそ162,880円に
https://www.moguravr.com/vive-pro-eye-3/
「PSVR2」用? SIEの新特許が明らかに
ソニー・インタラクティブエンタテインメント(SIE)は、新型コントローラーの特許を公開しました。米メディアUploadVRは、これがPlayStation VR(PSVR)の後継機「PSVR2」用の新型コントローラーだと推測しています。
コントローラーはユーザーの指を検出する複数のセンサーユニットを備えており、ストラップで手を固定する仕組みです。センサーユニットにそれぞれ指を置くことで、ゲーム内で拳を握ったり物をつかんだりといった行動ができます。
本ニュースの詳細はこちら:
“PSVR2”用か? SIEの新特許が明らかに
https://www.moguravr.com/psvr2-sie-new-patent/
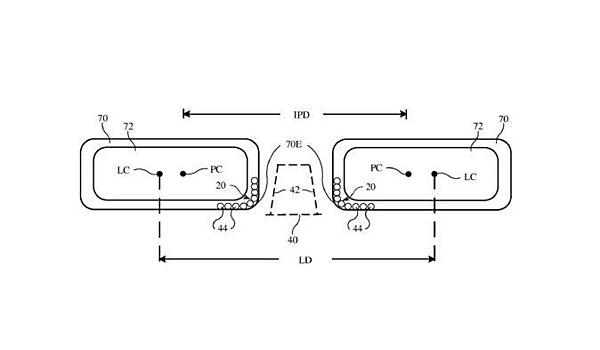
ARグラス関連? アップルが「HMDのレンズ位置自動調整システム」で特許
アップルが出願していた「自動的にレンズ位置を調整するシステム」などの特許が、米国の特許商標庁より公開されました。
特許資料によれば、ヘッドセットを装着すると、センサーと瞳孔間距離(IPD)情報を使い、左右のレンズ位置を調整します。システムでは他にも、超音波近接センサーによりユーザーの鼻との位置関係を調整する機能や、赤外線発光ダイオードを用いて位置決めをするオプションも用意されるとのことです。
本ニュースの詳細はこちら:
ARグラス関連か? アップルが“HMDのレンズ位置自動調整システム”で特許
https://www.moguravr.com/apple-hmd-patent/
ソフトバンク、4Kカメラ搭載の3Dスキャンスタジオ「xRスタジオ」開設
ソフトバンク株式会社とそのグループ会社のリアライズ・モバイル・コミュニケーションズ株式会社は、米・8i社の技術を活用した3Dスキャンスタジオ「xRスタジオ」をオープンしました。
「xRスタジオ」は、4Kや2Kカメラ搭載のキャプチャーステージのほか、撮影データを高速処理するレンダリングファームを備えています。今後はソフトバンクのARサービスの開発などに活用するだけでなく、コンテンツプロバイダーなど外部パートナーへの提供も予定されています。
本ニュースの詳細はこちら:
ソフトバンク、4Kカメラ搭載の3Dスキャンスタジオ「xRスタジオ」開設
https://www.moguravr.com/xr-studio/
※本ニュース記事は「Mogura VR」から提供を受けて配信しています。
転載元はこちらをご覧ください。
連載バックナンバー
Think ITメルマガ会員登録受付中
全文検索エンジンによるおすすめ記事
- HTCの新型VRデバイス「VIVE Pro Eye」欧州と中国で予約開始 視線追跡機能を搭載
- 普及と利活用が進んだ2017年のVRを振り返る
- SIEが大規模なレイオフ/MetaとLGが「Quest Pro 2」を開発中か
- 新型iMacとiMac ProでHTC Viveが動作するように!
- HTCが解像度5K、視野角120度の新型VRヘッドセット「VIVE Pro 2」を発表
- ソニーがPSVRとは別の新型VRヘッドセット開発中?
- Acer、新型4KのWinMRヘッドセット「ConceptD OJO」発表
- ソニーが新ハンドコントローラーを特許出願、PSVR2向けか?
- Valveが無線VRヘッドセットを開発中?新たな特許出願を確認
- Google Glassの法人向け新モデルが発表 価格は約11万円






